[摘要]据国外媒体报道,特斯拉为一款没有触点焊接的电池申请了专利,埃隆·马斯克宣称这种电池的重要性“超乎想象”。
据国外媒体报道,特斯拉为一款没有触点焊接的电池申请了专利,埃隆·马斯克宣称这种电池的重要性“超乎想象”。
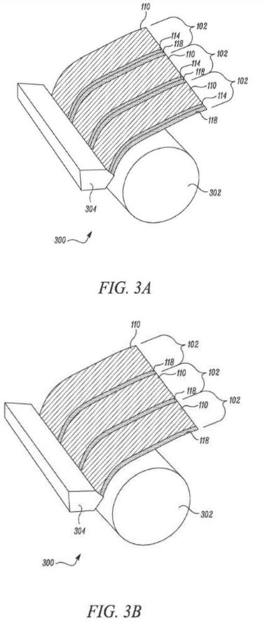
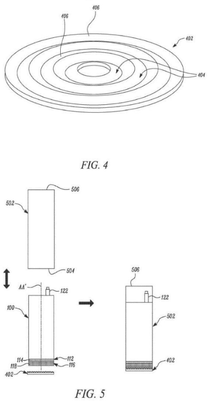
据悉,特斯拉在发布新专利的申请中明确指出当前电池的局限性:“目前的电池采用胶辊设计,其中阴极、阳极和隔板被卷在一起,并采用阴极接线片和阳极接线片连接电池外壳的正极和负极端子。电流通过这些触点与电池外部的接插器联通。然而,当电流必须沿阴极或阳极一路通过触点并流出电池时,欧姆电阻会随着距离的增加而增强。此外,由于触点是额外的组件,因此会增加成本并带来生产方面的挑战。”
特斯拉这项名为“无触点电池”的新专利描述了一种构建电池的新方法,从而避免上述问题。该公司在专利申请中写道:“本发明描述的是具有至少一个无触点电极的储能装置及其制作方法。所述电池包括第一基板(含第一涂层),导电材料附着在沿第一基板宽度近端处的第二部分。内部隔板设置在第一基板上。第二基板同样带有涂层。第一基板、内部隔板和第二基板以连续的方式绕中心轴卷动。”
以下特斯拉在专利申请中发布的相关图纸:
最近,特斯拉一直在申请大量与电池有关的知识产权,其中包括为其可续航100万英里的电池设计一个新的电极。
此前,科技网站Electrek 曾透露特斯拉正在开展内部秘密Roadrunner项目。该公司计划使用特斯拉内部团队开发的技术大规模生产每千瓦时成本低于100美元的电池,这些技术包括来自达恩团队的工作,以及最近通过收购麦克斯韦获得的新技术。
对于这种特殊的新无触点电池,马斯克在推特上评价这项技术的重要性超乎想象,但没有给出更多解释。在数周后即将举行的特斯拉电池日上,业界预测该公司也许将宣布更多消息。
分析人士指出,像特斯拉这样的公司经常会申请专利技术,而这些专利却未必一定会进行商业化。
然而,马斯克明确指出了这项专利技术的重要性,也许与该公司转向无模块电池组的可能性有关,毕竟无模块电池组需要对电池单元进行一些变更。如果是这样,无触点电池值得期待。
转载请注明出处。
1.本站遵循行业规范,任何转载的稿件都会明确标注作者和来源;2.本站的原创文章,请转载时务必注明文章作者和来源,不尊重原创的行为我们将追究责任;3.作者投稿可能会经我们编辑修改或补充。


热点推荐
精选导读


关注我们